第一章 总则
第一条 为进一步加强学校安全管理,及时有效地预防控制和妥善处置突发事件,维护校园安全稳定,建立健全学校突发性事件应急处置机制,推进应急处置工作的法制化、科学化、制度化建设,提高处置能力,最大程度地预防和减少突发性事件的发生,降低事件造成的危害和影响,切实维护校园安全稳定,特制定本预案。
第二条 本预案依据《中华人民共和国突发事件应对法》《突发事件应急预案管理办法》《国家突发事件总体应急预案》《教育系统突发公共事件应急预案》《江苏省突发事件应急预案管理办法》《江苏省突发事件总体应急预案》《淮安市突发事件总体应急预案》等法律法规,以及学校有关规章制度制定。
第三条 本预案适用于指导预防和应急处置与学校有关的、应由学校处置或参与处置的各类突发事件,主要包括以下五类:
(一)校园社会安全事件。主要包括涉及学校的群体性事件,恐怖袭击事件,治安事件,刑事案件,网络安全事件,信息安全事件,民族宗教事件,涉外事件,师生非正常伤亡、失踪等可能会引发影响学校和社会安全稳定的事件等。
(二)校园事故灾难。主要包括涉及学校的火灾事故、危险化学品事故、实验室安全事故、道路交通事故、建筑施工事故、基础设施和公用设施事故、大型群体活动公共安全事故,以及学校周边突发的涉及学校的各类安全事故等。
(三)校园公共卫生事件。主要包括涉及学校的传染病或群体性不明原因疾病事件、食品药品安全事件、群体性中毒感染事件,以及其他严重影响师生员工健康与生命安全的事件。
(四)自然灾害。主要包括对学校建筑设施、师生员工人身安全造成危害的地震、地质灾害,暴雨、冰雪、大风、雾霾等气象灾害。
(五)影响学校安全稳定的其他突发事件。
上述各类突发事件有时是相互交叉和关联的,某类突发事件有可能和其他类别的事件同时发生或引发次生、衍生事件,应当具体分析,突出重点,统筹应对。
第四条 应急工作原则
(一)以人为本,减少危害。牢固树立生命至上的理念,坚持底线思维,以保障师生员工健康和生命财产安全为首要任务,积极预防和最大限度减少突发事件危害。
(二)依法应对,加强管理。贯彻落实《中华人民共和国突发事件应对法》有关规定,健全应急管理配套制度与工作程序,做到应对突发事件工作规范化、制度化、法制化。
(三)统一指挥,快速反应。建立健全统一指挥的应急管理体制,健全完善各类力量快速反应、联动协调机制,高效应对各类突发事件。
(四)预防为主,群防群控。将应急管理工作融入学校安全运行的各个环节,强化基础工作,完善监测网络,增强预警分析,做好应急演练,形成各有关部门、单位系统联动、群防群控的处置格局,力争实现早发现、早报告、早控制、早解决。
第五条 学校突发事件级别划定严格执行教育部《教育系统突发公共事件应急预案》《江苏省突发事件总体应急预案》《淮安市突发事件总体应急预案》及相关专项应急预案等级标准,依据突发事件紧迫程度、形成规模、行为方式和激烈程度、可能造成的危害和影响、可能蔓延发展的趋势等情况,由高到低分为特别重大突发事件(Ⅰ级)、重大突发事件 (Ⅱ级)、较大突发事件(Ⅲ级)、一般突发事件 (Ⅳ级)4 个级别。
Ⅰ级、Ⅱ级、Ⅲ级由江苏省教育厅、淮安市统一组织协调,调度校外力量和资源进行应急处置。
Ⅳ级以学校为主,在相关政府专业部门指导下进行应急处置,并视严重程度(如人员伤亡、财产损失、内外影响等)由高到低细分为一等、二等、三等。
一般突发事件(Ⅳ级)细分等级划分依据
细分等级 | 划分依据 |
一等 | 有重大财产损失或有人员死亡或多于一人重伤的安全生产事故、交通事故或刑事案件;针对校园的涉暴涉恐袭击;已经造成重大财产损失或有人员伤亡或严重影响校园环境秩序的自然灾害;有重大影响的群体性事件、公共卫生、网络安全、舆情事件和其他社会安全类事件;有重大公私财产损失或出现人员死亡、重伤的其他意外事故。 |
二等 | 有较大财产损失或有人员重伤或多人轻伤的安全生产事故、交通事故或刑事案件;造成较大财产损失或有人员受伤或较大范围影响校园秩序环境的自然灾害;群体性事件(有一定影响);有较大影响的公共卫生、网络安全、舆情事件和其他社会安全类事件;有较大公私财产损失或出现多人受伤的其他意外事故。 |
三等 | 有一定财产损失(无人员伤亡)的安全生产事故、交通事故或刑事案件;造成一定财产损失或局部影响的自然灾害;造成一定影响的公共卫生、网络安全、舆情事件 和其他社会安全类事件;有一定公私财产损失或出现人员轻伤的其他意外事故。 |
如一般突发事件本身比较敏感,或发生在国家重大活动举办、重要会议召开等敏感时期(阶段),或可能造成严重负面社会影响的,应适当提高响应行动级别。应急响应启动后,可视突发事件事态发展情况及时对响应行动级别进行调整,避免响应不足或响应过度。
第六条 学校突发事件应急预案体系包括:
(一)总体应急预案。总体应急预案是学校突发事件应急预案体系的总纲,是学校应对突发事件的根本性文件。
(二)专项应急预案。专项应急预案是为应对学校某一类型或某几种类型的突发事件而制定的应急预案。
(三)部门、单位应急预案。部门、单位应急预案是各部门、各单位结合自身实际制定的与本部门、本单位相适应的突发事件应急预案。
(四)具体工作应急预案。针对某个时段、某项工作或举办大型文化体育活动等具体情形,主管、牵头或主办部门、单位应当制定相应的具体工作应急预案。
第二章 应急组织机构及职责
第七条 学校设立突发事件应急处置工作领导小组
组 长:党委书记、校长
副组长:党委副书记、全体副校长
成 员:党委办公室、校长办公室、党委宣传部、工会、党委教师工作部、党委研究生工作部、党委学生工作部、资产与实验室管理处、后勤管理处、党委保卫部主要负责人。
第八条 学校突发事件应急处置工作领导小组主要职责:
(一)在省教育厅、淮安市人民政府统一领导下,全面负责处置学校各类突发事件的应急响应行动,研究制定学校应对突发事件重大决策和指导意见;
(二)在预测将要发生或已经发生突发事件时,启动突发事件应急预案,并开展应对突发事件的组织指挥;
(三)在应对突发事件工作中,协调与校外相关部门和单位的关系;
(四)当突发事件超出学校处置能力时,依程序向省教育厅和淮安市人民政府及有关部门报告,请求指示与支援;
(五)决定信息报送省教育厅和淮安市人民政府及有关部门的标准、内容以及请示上级部门指示、支援等事项;
(六)决定对外公布、公开与突发事件有关信息的口径及发布时间、方式等;
(七)部署分析总结学校年度应对突发事件工作。
第九条 学校突发事件应急处置工作领导小组下设办公室,办公室设在党委保卫部、保卫处,其主要职责:
(一)联系校内各部门、各单位,统筹调配应急处置人员与物资等;
(二)及时收集、整理、分析相关数据和情况,提出处理各类突发事件的指导意见和具体措施报学校突发事件应急处置工作领导小组;
(三)会同相关部门及时总结学校处理突发事件的经验和教训,完善应急处置机制及相关制度建设;
(四)指导、督促、检查校内各部门、各单位落实突发事件应急处理工作情况。
第十条 学校突发事件应急处置工作领导小组根据突发事件的类别,视情组织成立相应的专项应急处置工作组开展工作。如遇突发事件发生,相关专项应急处置工作组可根据突发事件的严重程度以及所涉及部门、单位情况成立应急现场指挥部。
专项应急处置工作组履行以下职责,并可根据所负责事件类型特点进行适当调整:
(一)在学校突发事件应急处置工作领导小组的统一指挥下,协调处置或牵头协调处置相关类别的突发事件的应对工作;
(二)具体组织、指挥涉及学校的突发事件的应急响应行动;
(三)指导校内各相关单位建立健全相应的预防预警机制;
(四)对突发事件防范处置工作进行督查、指导,必要时进入现场协调处置,控制事态发展;
(五)根据事件发展趋势动态调整事件级别,及时调整应急措施和方案;
(六)协助属地政府有关部门开展应急处置工作;
(七)研究向上级部门报送信息、请求指示和援助等事项;
(八)研究对外公布、公开与事件有关信息的口径、方式及发布时间等;
(九)会同突发事件应急处置工作领导小组办公室总结评估应急处置工作;
(十)承担突发事件应急处置工作领导小组交办的其他任务。
第三章 监测、预警及信息报告
第十一条 学校实行重点领域安全隐患定期排查与专项治理工作机制。建立基础信息数据库,基于重点领域安全隐患排查结果,明确监测领域,划分监测区域,完善监测网络,确定监测点,对可能发生的突发事件进行监测。
学校定期组织专家和有关力量开展公共安全形势分析研判,提出防范措施建议。围绕重点领域建立学校风险评估与预警动态化信息管理平台,提高风险预测评估的准确性和及时性。
各部门、各单位根据职责分工,及时分析研判本部门、本单位存在的风险隐患及可能影响公共安全的信息,预测可能发生的情况。对可能发生的事件须及时报学校突发事件应急处置工作领导小组办公室。
第十二条 应急预警
(一)预警信息
校园应急预警信息分为两类:一是学校转发的上级部门发布的各级各类预警信息;二是学校突发事件应急处置工作领导小组根据校园监测监控、信息采集系统获取的或异常情况报告研判后发布的预警信息。
(二)预警信息应对
对于上级部门发布的各级各类预警信息,学校按照要求及时启动相应应急预案,并准确做出应急响应行动。对于学校研判确定的预警信息,应根据分析评估结果视情向上级及相关部门报告,并依据事态发展及时调整预警级别并重新报告和发布预警信息。
(三)预警行动措施
学校发布预警信息后,根据实际情况和分类分级原则,应采取下列措施:
1.及时收集、报告有关信息,进一步加强对突发事件发生、发展情况的监测、预报和预警工作;
2.按有关规定及时发布与师生员工有关的突发事件预测信息和可能受到事件危害的警告,宣传避免或减轻危害的建议和常识,公布咨询电话;
3.启动专项应急预案,组织应急救援队伍和负有特定职责的人员进入待命状态,并做好参加应急救援和处置工作的准备。
(四)解除预警警报
有事实证明不可能发生突发事件或者危险已经解除,学校应当按照有关规定立即宣布解除预警,终止预警期,并解除已经采取的有关措施,恢复正常办学秩序。
第十三条 学校建立畅通的信息传输渠道和信息上报机制,完善快速应急信息系统。
(一)信息报告的基本原则
1.迅速。按照淮阴师范学院突发事件信息报告流程(附件1)及时报告。
2.准确。尽可能全面了解突发事件的起因、性质等基本情况,并及时以信息形式报告。信息内容要客观翔实,不得主观臆断,不得瞒报、漏报、谎报、误报。
3.保密。突发事件相关涉密信息,应严格按照保密工作各项要求,确保整个事件的信息处理过程不出现失泄密情况。电话、传真和计算机网络等信息传送手段必须有严格的保密措施。
4.完整。在事件情况发生变化后,应及时持续报告事件有关变化情况;在事件处理结束后,应以终报形式报告事件最终处理结果及有关情况。
(二)信息报告的主要内容
1.事件发生的基本情况,包括时间、地点、规模、涉及人员、 破坏程度以及人员伤亡情况;
2.事件发生起因分析、性质判断和影响程度评估;
3.学校和相关单位已采取的措施;
4.校内外公众及媒体等各方面的反应;
5.事态发展状态、处置过程和结果;
6.需要报送的其他事项。
突发事件发生后,如需上报上级主管部门的,由党委办公室、校长办公室根据学校处置校园突发事件领导小组意见,以信息专报形式上报。
第四章 应急响应
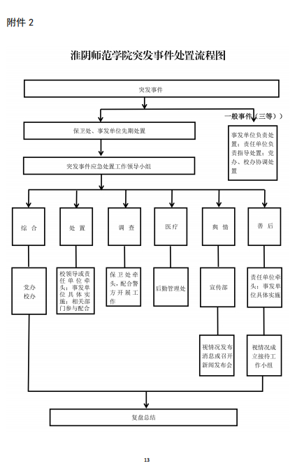
第十四条 特别重大事件 (Ⅰ级)、重大事件 (Ⅱ级)、较大事件 (Ⅲ级)三类突发事件发生后,政府相关部门介入应急处置。学校突发事件应急处置工作领导小组立即启动相应预案,相关应急处置工作组立即调动各方面资源和力量进行应急处置工作。学校主要领导担任应急处置工作总指挥,相关分管校领导、处置校园突发事件领导小组成员和相关应急处置工作组成员靠前组织开展工作直至应急响应结束。应急处置情况应随时向省教育厅和淮安市人民政府及有关部门报告。
一般事件 (Ⅳ级)发生后,根据学校细分等级启动相应预案。相关应急处置工作组统一调动各方面资源和力量进行应急处置工作。
对于一般(一等)事件:学校分管校领导担任现场应急处置工作的总指挥,职能部门和相关部门主要负责人到场,作为应急现场指挥部成员在突发事件现场组织开展工作并直至应急响应结束。应急处置情况应随时向学校主要领导和上级主管部门报告。
对于一般(二等)事件:学校分管校领导或职能部门主要负责人担任现场应急处置工作的总指挥,应急现场指挥部成员在突发事件现场组织开展工作并直至应急响应结束。应急处置情况应随时向学校主要领导、分管安全稳定工作领导和上级主管部门报告。
对于一般(三等)事件:学校职能部门主要负责人担任现场应急处置工作的总指挥,应急现场指挥部成员在突发事件现场组织开展工作并直至应急响应结束。应急处置情况应随时向学校分管安全稳定工作领导报告。
若突发事件情形发生变化,应视事件性质和发展趋势,及时调整事件应急响应级别。
第十五条 突发事件发生后, 按响应分级要求启动应急。相关应急处置工作组统一调配应急资源和力量,收集相关信息,掌握现场处置工作状态,分析事件发展趋势,组织有关人员和专家对事件信息进行分析、评估,提出处置方案和建议,并及时向省教育厅和淮安市人民政府及有关部门报告情况。
第十六条 专项应急处置工作组组织应急救援工作,并视情况采取下列措施:迅速控制突发事件事态发展;有人员伤亡的情况要及时组织营救、救治受伤人员,转移、疏散、撤离、安置受威胁人员,启动心理干预;组织抢修被损坏的基础设施;按照有关程序决定限制使用、隔离或者封闭有关场所和周边道路交通;加强现场监测,防止疫病、环境污染等事件发生,防止引发次生、衍生事件;加强抢险抢修工作,尽快恢复受损设施正常运转。
第十七条 视事件性质和发展趋势,采取基本应急措施无法有效控制和消除其严重危害时,需要及时调整事件应急响应级别,实施扩大应急行动,按照有关程序和预案采取有利于控制事态的非常措施,并向省教育厅和淮安市人民政府及有关部门报告,请求支援或申请淮安市人民政府启动市应急预案。
第十八条 专项应急处置工作组(应急现场指挥部)应强化协作机制,加强与省教育厅和淮安市人民政府及有关部门的请示报告及与属地各级执法管理部门等校外单位的沟通联络;应听取上级部门及属地执法管理部门的意见建议并做好落实,争取政策、物资及其他方面的支持配合,为应对突发事件创造良好的外部环境。
第十九条 突发事件处置工作基本完成,次生、衍生和事件危害基本消除,应急处置工作即告结束;突发事件应急处置工作结束后,突发事件应急处置工作领导小组将应急处置工作总结报上级部门同意后,应急处置工作结束;
一般事件由突发事件应急处置工作领导小组宣布应急结束,较大、重大、特别重大事件由上级部门宣布应急结束;突发事件应急处置工作结束后,有关情况及时通知参与应急处置的相关部门和单位;必要时,通过校内媒体在校内发布应急结束消息或通过新闻媒体向社会发布应急结束消息。
第五章 信息发布和后期处置
第二十条 学校各类突发事件的信息发布统一由党委宣传部归口负责。信息发布要全面、客观、准确、及时,要区分不同情况,把握信息发布和舆论的主动权。
第二十一条 突发事件善后处置工作在省教育厅和淮安市人民政府及有关部门指导下,由学校及相关部门负责实施。
学校相关部门要组织力量对事件发生和应对的全面情况、受影响人员情况、造成的校内外影响、恢复修复所需条件资源等做出评估,并全面开展突发事件善后工作。
第二十二条 突发事件应急处置工作领导小组成立突发事件原因调查小组,组织专家和相关专业人员调查和分析事故事件发生的原因和发展趋势,预测事故后果并按要求报上级部门。
突发事件应急处置工作领导小组办公室总结学校处理突发事件的经验和教训,评估应急处置工作,制定整改措施,严肃追究相关责任人的责任。
第六章 应急保障
第二十三条 学校各部门、各单位要建立健全并落实突发事件信息报送、应急处置等各环节的运行机制,保持通讯方式便捷高效,确保信息报送渠道安全畅通。凡达到划定级别的突发事件,应向本部门、本单位主要领导报告并及时处理,同时向突发事件应急处置工作领导小组办公室报告。向上级部门报送的信息由学校突发事件应急处置工作领导小组归口负责。
第二十四条 各部门、各单位要充分开展形式多样、内容丰富的应急法律法规和预防、避险、自救、自护等应急知识宣传?;龊冒踩逃翁霉ぷ鳎υ銮渴ι惫さ姆婪兑馐?,学习掌握应急基本知识和技能,以适应突发事件处置的需要。
第二十五条 学校组织与应急预案实施密切相关的人员等进行培训与演练,将突发事件预防、应急指挥、综合协调等作为重要内容,切实增强应急队伍应对突发事件的处置能力。
第七章 附则
第二十六条 本办法如与上级文件有冲突,以上级文件为准。
第二十七条 本办法自发布之日起施行,由学校突发事件应急处置工作领导小组办公室负责解释。

